Opis
Smarownica AOL G1
Model AOL G1 to smarownica przeznaczona do użytku w układach sprężonego powietrza. Jej głównym zadaniem jest zapewnienie odpowiedniej ilości środka smarnego w strumieniu powietrza, co poprawia działanie zaworów, siłowników i pozostałych elementów pneumatycznych.
Obudowa smarownicy wykonana jest z aluminium, natomiast zbiornik oraz kopułka z poliwęglanu. Korek smarownicy oraz pokrętło są wykonane z tworzywa sztucznego. Wszystkie uszczelnienia wykonano z gumy NBR.
- Stosowana w aplikacjach przemysłowych
- Wykonana z trwałych materiałów
- Obsługuje ciśnienia robocze do 10 barów
- Wersja przyłączeniowa G1
Przeznaczona do instalacji, gdzie konieczne jest systematyczne podawanie oleju smarnego do układu pneumatycznego.
| Parametr | Wartość |
|---|---|
| Medium robocze | Sprężone powietrze, neutralne gazy |
| Zalecane ciśnienie robocze | 1 do 10 barów |
| Zalecana temperatura pracy | Do +60°C |
| Gwinty przyłączeniowe | G1 |
| Materiały | Aluminium, poliwęglan, tworzywo sztuczne, NBR |
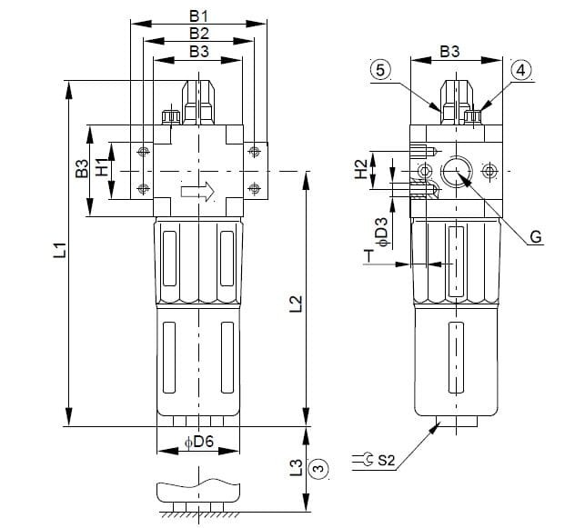
| L1 | 228 mm |
| T | 8 mm |
| H1 | 40 mm |
| L2 | 170 mm |
| H2 | 22 mm |
| B1 | 116 mm |
| B2 | 91 mm |
| L3 | 150 mm |
| B3 | 66 mm |
| Średnica D3 | M5 |
| Średnica D6 | 65 mm |
| S2 | 24 mm |
Informacje dodatkowe
| Waga | 1,0 kg |
|---|















Opinie
Na razie nie ma opinii o produkcie.